Пилотная горелка для розжига факелов ЗСУ-45-ФС

Пилотная горелка для розжига факелов ЗСУ-45-ФС
Цену уточняйте по телефону:
 +375 (17) 365-64-51

Назначение


Пилотная горелка для розжига факелов ЗСУ-45-ФС предназначена для розжига факельных установок, мощных горелок на газовом и жидком топливе, для замены при реконструкции зарубежных пилотных горелок, а так же свечей высокой энергии.
Длина Пилотной горелки до 6000 мм (обговаривается при заказе). Исполнение клеммных коробок и органов управления в исполнении Exd.


Особенности


Отличительной особенностью является применение впервые в РФ свечей высокой энергии с поверхностным разрядом.
Ведущие мировые производители применяют именно такой вид свечей. 

Это дает неоспоримые преимущества в сравнении с традиционными высоковольтными свечами:
    1. Независимость процесса розжига от воздействий неблагоприятных сред: высокой влажности и температуры, повышенной загрязненности.
    2. Высокая энергия искры (до 12 Дж) позволяет разжигать газообразное и распыленное форсункой жидкое топливо напрямую, без применения запальной газовой горелки.
    3. Самоочистка рабочей поверхности свечи.
    4. Низкое (по сравнению с высоковольтными свечами) рабочее напряжение до 2,5 кВ.
    5. Неограниченная длина питающих кабелей.

Основные технические характеристики ЗСУ-ПИ-45 (Таблица 1)

    Присоединительные давления газа на входе в запальную горелку, кПа:     10-150
    Тепловая мощность запальной горелки при работе на природном газе, не более кВт     120
    Длина факела запальной горелки при отрегулированном режиме горения,
    не менее м, при давлении 100 кПа
    1,0
    Максимально допустимая температура в зоне рабочего торца запальной горелки,°С     1000
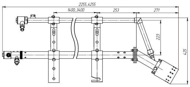
    Габаритные размеры, от мм     2255*х
    430x120
    Масса запальной горелки длиной, не более кг: - 2000     25

Пример заказа: Запально-защитное устройство ЗСУ-ПИ-45-05-2000

Составные части

Состав ЗСУ-ФС.jpg
1. Свеча розжига высокой энергии
2. Газовая пилотная горелка (запальник) с контролем пламени (термопара) ЗСУ-ПИ-45-ФС
3. Блок розжига
4. Блок коммутации


                                         Блок розжига                                          Блок коммутации
Блок розжига.jpg    Блок коммутации.jpg


Габаритные и установочные размеры


ЗСУ-45-ФС габариты.jpg